Celular de 3 telas da Samsung pode ter 3 baterias

Celular de 3 telas da Samsung é a expressão que define o próximo dobrável da marca, e documentos sul-coreanos indicam que o inédito aparelho contará com três baterias internas, uma para cada display.
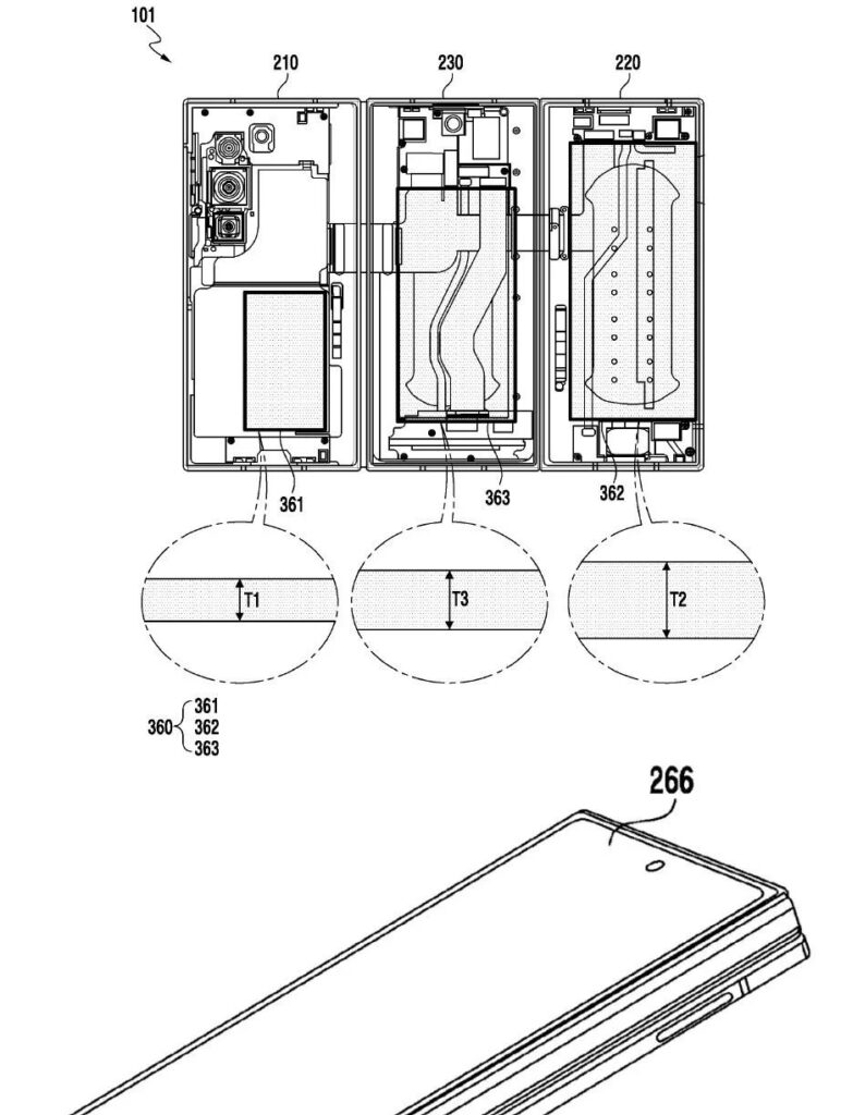
Os registros foram localizados pelo site Galaxy Club no KIPRIS, sistema de propriedade intelectual da Coreia do Sul, e descrevem a organização interna do modelo conhecido até agora como Galaxy Z TriFold.
Celular de 3 telas da Samsung pode ter 3 baterias
Esboços anexados ao pedido de patente revelam a disposição incomum dos componentes: a menor bateria fica sob a tela esquerda, a segunda maior no segmento central e a maior delas atrás da tela direita. Embora as capacidades não tenham sido detalhadas, a escolha sugere que a Samsung pretende aumentar a autonomia, já que três telas dinâmicas exigem energia extra.
Rumores apontam que, quando totalmente aberto, o Galaxy Z TriFold exibirá um painel Dynamic AMOLED 2X de 10 polegadas. No interior, o processador Snapdragon 8 Elite deverá trabalhar com até 16 GB de RAM e 1 TB de armazenamento. O conjunto fotográfico deve incluir sensor principal de 200 MP, ultrawide de 12 MP, telefoto de 50 MP e duas câmeras frontais de 10 MP. Recursos do Galaxy AI devem compor o pacote de software.
Apesar da proximidade do lançamento, o nome comercial definitivo ainda não foi definido. O dispositivo já foi citado como Galaxy G Fold ou Galaxy Z MultiFold, mas a confirmação só virá no evento que a Samsung deve realizar na Coreia do Sul no fim de outubro. Espera-se que o primeiro lote seja vendido apenas no mercado asiático a preço elevado.
Para comparação, o Huawei Mate XT, primeiro dobrável triplo a chegar ao mercado, reúne uma bateria de 5.600 mAh com carregamento rápido de 66 W. Caso a Samsung repita ou supere esses números, poderá estabelecer novo padrão para aparelhos dobráveis — possibilidade que anima analistas, como aponta reportagem publicada no Bloomberg.
Com três telas, dobradiças múltiplas e bateria tripla, o Galaxy Z TriFold desponta como o projeto mais ousado da linha de dobráveis da Samsung até agora. A expectativa é que mais detalhes surjam nas próximas semanas.
Quer acompanhar todas as novidades sobre dispositivos móveis e inovações tecnológicas? Visite nossa editoria de Ciência e Tecnologia e continue informado.
Crédito da imagem: Galaxy Club
Postagens Relacionadas